Клуб Мазда, форум, автоклуб avto Москва http://www.mazda-auto.ru
Клуб Мазда Авто, форум, автофорум www.mazda-auto.ru
Клуб Мазда, форум







     На страницу Пред.  1 ... 87, 88, 89, 90, 91, 92, 93 ... 169  След.

Mazda Xedos 9 2.0 - 2.3 - 2.5 / Millenia обсуждения | мазда (mazda) форум | 07 авг 2006 13:13

 Заголовок сообщения: | мазда (mazda) форум
07 авг 2006 13:13 
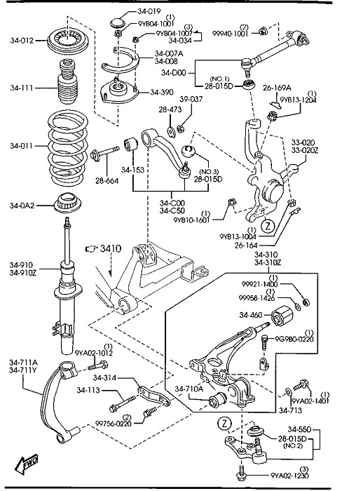
верхние рычаги передней подвески, как еще объяснить?
их можно увидеть без подъемника.


Вернуться наверх
  
 
 Заголовок сообщения: | мазда (mazda) форум
07 авг 2006 14:49 
Шурик, который из них


Вложения:
2.jpg
2.jpg [ 107.61 | Просмотров: 2653 ]
Вернуться наверх
  
 
 Заголовок сообщения: | мазда (mazda) форум
07 авг 2006 14:55 
Я в выходные машину и подвешевал, и из ямы все рычаги дергал, и даже колодки снимал - вобщем посмотрел и подергал все что можно. Все целое нигде ни чего. Может все дело в многорычажной системе подвески, и результата можно добиться только заменой какого либо агрегата?
Вобщем хрен его знает чего делать :o
Кстати стук у меня был когда пригнали с германии, я тогда подумал, что сайлентблок на рычаге накрылся (см рис 34-С00). Я его поменял, а стук все равно остался... :cry:


Вернуться наверх
  
 
 Заголовок сообщения: | мазда (mazda) форум
07 авг 2006 14:57 
похож на 99940-1001 и 28-015D


Вернуться наверх
  
 
 Заголовок сообщения: | мазда (mazda) форум
07 авг 2006 15:09 
Шурик, а у тебя сайлентблок или шараовая на этом рычаге накрылась?


Вернуться наверх
  
 
 Заголовок сообщения: | мазда (mazda) форум
07 авг 2006 15:15 
я его менял целиком.


Вернуться наверх
  
 
 Заголовок сообщения: | мазда (mazda) форум
07 авг 2006 15:19 
Я понял, что целиком, но в рычаге в самом чего не работало - шаровая или сайлентблок?


Вернуться наверх
  
 
 Заголовок сообщения: | мазда (mazda) форум
07 авг 2006 15:20 
Я этот рычаг откручивал там где он к кузову крепится - сайлентбок целый, может шаровая разбита, поэтому и стучит? :Search:


Вернуться наверх
  
 
 Заголовок сообщения: | мазда (mazda) форум
07 авг 2006 15:35 
просто ходил туда-сюда, что именно - я не устанавливал.


Вернуться наверх
  
 
 Заголовок сообщения: | мазда (mazda) форум
07 авг 2006 19:26 
Вобщем купил я этот рычаг (1700р). Поставлю отпишусь


Вернуться наверх
  
 
 Заголовок сообщения: | мазда (mazda) форум
07 авг 2006 21:16 
TEMZ, прежде чем его покупать надо точно было установить - он ли стучит. Вот странный человек! Я при колебании детали вручную ОТЧЕТЛИВО слышал стуки. И менял не один - а сразу 2. :D
Короче, дружище, не спеши. Съездий еще в один сервис. Это не так сложно установить причину посторонних шумов в подвеске. Удачи.


Вернуться наверх
  
 
 Заголовок сообщения: | мазда (mazda) форум
08 авг 2006 08:14 
Не в сети
я тут живу
я тут живу

Зарегистрирован: 19 янв 2006 10:38
Сообщений: 814
Откуда: Москва
Баллы репутации: 0
Шурик,
Цитата:
Это не так сложно установить причину посторонних шумов в подвеске



Я над этим уже бъюсь вторую неделю. Не все так просто. Вчера в очередной раз после часовой диагностики (интенсивной тряски передней повески, чего только не делали у Оникса) опять ничего ненашли. Добавили смазки во внутренние шрусы - стук стал тише и глуше. Во как!

_________________
Mazda Millenia USA 2,3 Miller 2001


Вернуться наверх
 Профиль Отправить email  
 
 Заголовок сообщения: | мазда (mazda) форум
08 авг 2006 08:42 
Шурик, я полностью согласен с Михаил MM
Цитата:
Не все так просто


Вернуться наверх
  
 
 Заголовок сообщения: | мазда (mazda) форум
08 авг 2006 16:53 
Не в сети
завсегдатай
завсегдатай
Аватар пользователя

Зарегистрирован: 26 апр 2006 11:51
Сообщений: 485
Откуда: г. Москва, ЮЗАО
Баллы репутации: 0
Михаил MM,

Забей!!! Хороший стук даст о себе знать!

_________________
MAZDA MILLENIA, 2500cc, АКПП, 2000 г.в :)
CHEVROLET TAHOE, 5300cc, 2002 г.в.


Вернуться наверх
 Профиль  
 
 Заголовок сообщения: | мазда (mazda) форум
08 авг 2006 17:09 
Не в сети
я тут живу
я тут живу

Зарегистрирован: 19 янв 2006 10:38
Сообщений: 814
Откуда: Москва
Баллы репутации: 0
Антуан,

Желательно бы не на трассе!

_________________
Mazda Millenia USA 2,3 Miller 2001


Вернуться наверх
 Профиль Отправить email  
 
 Заголовок сообщения: | мазда (mazda) форум
09 авг 2006 09:43 
Не в сети
я тут живу
я тут живу

Зарегистрирован: 19 янв 2006 10:38
Сообщений: 814
Откуда: Москва
Баллы репутации: 0
TEMZ,

Ну как результат от замены рычага? Кстати, что за стук то? У меня в общем-то даже не стук, а треск, как будто за что-то цепляется.

В экзисте посмотрел, что на передней оси есть еще и промежуточный подшипник справа. Надо попробовать его смазать. Если треск пропадет - то значит он гад накрылся!
:evil:

_________________
Mazda Millenia USA 2,3 Miller 2001


Вернуться наверх
 Профиль Отправить email  
 
 Заголовок сообщения: | мазда (mazda) форум
09 авг 2006 10:08 
http://wwwboards.auto.ru/mazda/

здесь попробуй спросить
там есть не только дилетанты вроде нас, но и спецы.


Вернуться наверх
  
 
 Заголовок сообщения: | мазда (mazda) форум
11 авг 2006 07:41 
Romusik, что ты пропал? :(


Вернуться наверх
  
 
 Заголовок сообщения: | мазда (mazda) форум
11 авг 2006 09:49 
Не в сети
я тут живу
я тут живу

Зарегистрирован: 19 янв 2006 10:38
Сообщений: 814
Откуда: Москва
Баллы репутации: 0
Шурик,

Спасибо за ссылку! Разобрался со стуком в подвеске! Шустов статейку про это написал!

Короче накрылось шлицевое соединение между промежуточным валом и внутренним шрусом.

Приговор замена вал+шрус ...... 600 уевин.

_________________
Mazda Millenia USA 2,3 Miller 2001


Вернуться наверх
 Профиль Отправить email  
 
 Заголовок сообщения: | мазда (mazda) форум
11 авг 2006 10:43 
Цитата:
Приговор замена вал+шрус ...... 600 уевин.

да, вроде,была про шрусы статейка.
жаль, что маська столько денег отнимает.


Вернуться наверх
  
 
 Заголовок сообщения: | мазда (mazda) форум
11 авг 2006 10:43 
Шурик писал(а):
Romusik, что ты пропал? :(


Шурик и Ув. Кседоводы скоро буду с Вами. У меня злости выше крыше :evil: :evil: :evil: , детали для задней передачи нет, битых машин еще таких на свалках нет в Латвии. Я в отчаянии. Буду пытаться звонить в Литву, тому у кого покупал движок, и если коробка еще не продана, то придеться ее купить и просто напросто заменить. А так я в отпуске..... Пока балуюсь с 626, жутко скучаю по Кседосу 9 %)


Последний раз редактировалось Romusik 11 авг 2006 11:09, всего редактировалось 1 раз.

Вернуться наверх
  
 
 Заголовок сообщения: | мазда (mazda) форум
11 авг 2006 10:46 
Romusik, блин, вот проблема!
У вас разборок должно быть немеренно, Европа все-же ближе.
Здесь таких траблов нет, были бы деньги. Я вот решил осенью компрессором заняться.


Вернуться наверх
  
 
 Заголовок сообщения: | мазда (mazda) форум
11 авг 2006 10:47 
Не в сети
я тут живу
я тут живу

Зарегистрирован: 19 янв 2006 10:38
Сообщений: 814
Откуда: Москва
Баллы репутации: 0
Шурик,

Да, но я так думаю еще и наши дороги!

_________________
Mazda Millenia USA 2,3 Miller 2001


Вернуться наверх
 Профиль Отправить email  
 
 Заголовок сообщения: | мазда (mazda) форум
11 авг 2006 10:51 
с дорогами беда...
у меня товарищ на 626 в открытый люк заехал...


Вернуться наверх
  
 
 Заголовок сообщения: | мазда (mazda) форум
11 авг 2006 10:52 
Kedr, что ты пропал? :D


Вернуться наверх
  
 
Показать сообщения за:  Сортировать по:  
Начать новую тему Ответить на тему  [ Сообщений: 4202 ]  На страницу Пред.  1 ... 87, 88, 89, 90, 91, 92, 93 ... 169  След.









Найти:
Перейти:  
cron
Клуб «Мазда-Авто»: www.mazda-auto.ru © 2002 - 2018
Форум владельцев автомобилей Mazda: Москва, Санкт-Петербург, Екатеринбург, Челябинск, Тюмень, Краснодар, Новосибирск, Красноярск, Воронеж.